mitsubishi.megaherz.cz

Diskuzní fórum nejen o vozech Mitsubishi
Právě je 20 březen 2026 10:46

Všechny časy jsou v UTC + 1 hodina [ Letní čas ]




Odeslat nové téma Odpovědět na téma  [ Příspěvků: 13 ] 
Autor Zpráva
 Předmět příspěvku: Hydroštely
PříspěvekNapsal: 21 červen 2007 15:22 
Offline
Site Admin
Uživatelský avatar

Registrován: 30 červenec 2004 11:15
Příspěvky: 438
Bydliště: Praha
Automobil: Mitsubishi Carisma
Typ motoru: 1,9TD
Rok výroby: 1999
Stale dokola se tu bavite o hydrostelech, jejich cvakani atd. Ale co to vlastne je ten hydrostel? Ja se ptam, pac jedine motory ktere jsem za mlada opravoval byli dvoutaktni jawy a pak jeste dvoutaktni wartburg. Tam samozrejme nebyly ventily, natoz nejake hydrostely (pokud tedy hydrostel ma jeco spolecneho s ventilama).

1) Takze bych se chtel zeptat co to je, k cemu to je a jak to vlastne pracuje.

2) A pak jeste, jestli to muzu mit i v renaultim dieselu. Me v tom totiz taky neco cvaka, je to takove jemne tukani (skoro bych rekl ze cinkani) v nizkych otackach na volnobeh (ve vysokych to neni, nebo to mozna neslysim kvuli hluku z motoru). Tuka to vzdycky v serii, douho nic, dlouho nic, tuktuktuktuk (3-6x rychle za sebou) a pak zase nic, pak treba jen 3x za sebou, pak zase nic (atd...). Mohlo by to byt ono? Jezdim s tim uz dlouho, nijak se to nezhorsuje. A je to spise za tepla, za studena ani ne.

Dik za vysvetleni.

_________________
Obrázek Obrázek
Mitsubishi Carisma Sedan, 1.9TD, 1999 ... Jeep Grand Cherokee WJ, 4,7 V8, 1999


Nahoru
 Profil Poslat soukromou zprávu  
Odpovědět s citací  
 Předmět příspěvku: hydrostely
PříspěvekNapsal: 21 červen 2007 16:09 
Offline

Registrován: 27 prosinec 2005 15:34
Příspěvky: 270
Bydliště: Tropau
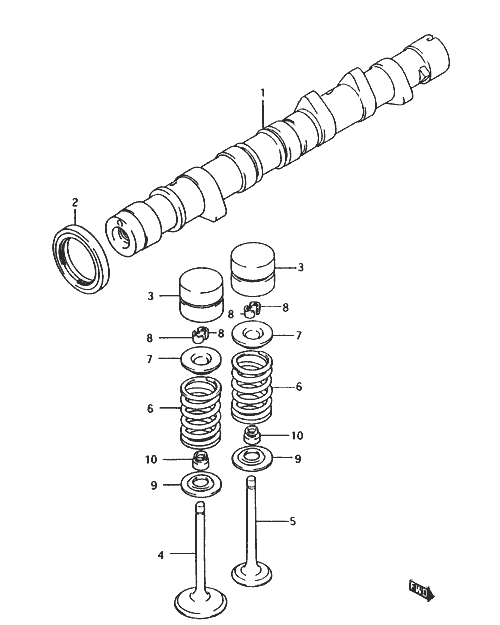
Hydrostel je zarizeni pro automaticke vymezeni vule mezi vackovou hrideli a drikem ventilu. U motoru OHC jsou umisteny v hlave valcu nad drikem ventilu.

Jak presne funguje nevim, ale tlakem oleje se vule vymezi na predepsane hodnoty. Je to takovy valecek, ktery se roztahuje a ztahuje o predepsane hodnoty tlakem oleje.

Normalne se ventilova vule vymezuje rucne pootacenin sroubu a jejim utazenim kontramatkou pri dosazeni pozadovane vule, napr. 0.15mm pro saci ventily a 0.20 pro vyfukove ventily. Skvira (vule) se meri merkama.

U Hydrostelu se tedy po dobu jejich zivotnosti nic nevymezuje.
Vetsinou pri studenem motoru a nez se olej zahreje a stane se ridsim hydrostely "cvakaji", protoze vule jsou moc velke a vacka narazi do driku ventilu jakoby z vetsi dalky.

Lepsi a nazornejsi by asi byl nejaky nakres, ale zadny nemam. Sam bych chtel vedet, jak vevnitr hydrostel vlastne vypada...


na mem obrazku je hydroste ta trojka...ale nemam nic, co by ukazovalo, jak vypada vevnitr...


Přílohy:
1182435716_676985b0807b12e9be18c88bf18d8324.gif
1182435716_676985b0807b12e9be18c88bf18d8324.gif [ 9.34 KiB | Zobrazeno 31180 krát ]

_________________
EVO/STI - kdo jednou zkusi, pak uz musi...
Nahoru
 Profil Poslat soukromou zprávu  
Odpovědět s citací  
 Předmět příspěvku:
PříspěvekNapsal: 22 červen 2007 10:19 
Offline
Site Admin
Uživatelský avatar

Registrován: 30 červenec 2004 11:15
Příspěvky: 438
Bydliště: Praha
Automobil: Mitsubishi Carisma
Typ motoru: 1,9TD
Rok výroby: 1999
Aha, tak uz jsem chytrejsi. Ja jsem si to takhle nejak myslel, ale nebyl jsem si jisty.

_________________
Obrázek Obrázek
Mitsubishi Carisma Sedan, 1.9TD, 1999 ... Jeep Grand Cherokee WJ, 4,7 V8, 1999


Nahoru
 Profil Poslat soukromou zprávu  
Odpovědět s citací  
 Předmět příspěvku:
PříspěvekNapsal: 22 červen 2007 14:18 
Offline

Registrován: 17 červen 2007 23:23
Příspěvky: 8
á díky aspon sem taky oněco chytřejší do druhaku :lol:


Nahoru
 Profil Poslat soukromou zprávu  
Odpovědět s citací  
 Předmět příspěvku:
PříspěvekNapsal: 22 červen 2007 14:52 
Offline
Uživatelský avatar

Registrován: 26 květen 2006 15:30
Příspěvky: 15
Bydliště: Praha
Automobil: Legnum VR-4
Typ motoru: 6A13TT
Rok výroby: 1998
jeden řez 8)


Přílohy:
1182516728_676985b0807b12e9be18c88bf18d8324.gif
1182516728_676985b0807b12e9be18c88bf18d8324.gif [ 0 bajtů | Zobrazeno 31092 krát ]
Nahoru
 Profil Poslat soukromou zprávu  
Odpovědět s citací  
 Předmět příspěvku:
PříspěvekNapsal: 24 červen 2007 03:08 
Offline

Registrován: 16 listopad 2004 21:23
Příspěvky: 2921
Bydliště: Praha
Hydroštel je v benzínovém motoru ten nejpřesnější strojírenský výrobek, vyrobený s tolerancí na tisíciny mm. Tento kompaktní váleček o průměru méně než 10 mm a délce do 30 mm se přinejmenším u Mitsubishi skládá min. z 8 dílů! Sice žádný rozdělaný momentálně před sebou nemám, ale pro popis funkce to nevadí:
V zásadě jde o olejový tlumič určité tvrdosti s řízeným vyprazdňováním, přičemž obojí (jak tvrdost, tak to vyprazdňování) je dáno schopností ocelového vnitřního zpětného ventilu udržet tlak oleje, silou vnitřní pružiny co nejrychleji hydroštel po každém stlačení opět roztáhnout na původní délku a tím současně nasát olej z tlakového kanálku, a samozřejmě na samotném tlaku motorového oleje a provozních vůlích, resp. opotřebení, vedoucím ke ztrátě tlaku v přívodním systému i v hydroštelu samotném.

Pozor však na jednu věc: většina lidí, včetně mechaniků, je přesvědčena o tom, že hydroštel vykrývá celý zdvih ventilu (byť třeba přes rameno páky v podobě vahadla), to ale není pravda - hydroštel samotný např. u GDI motorů "obslouží" pouze cca 2,9 mm zdvihu, zbytek jde na vrub pohynu celého těla hydroštělu v díře jeho uložení, kdy vlivem tlaku oleje "odspoda" sleduje pohyb vahadla po vačce v nezatíženém stavu, tj. v době, kdy vahadlo vlastně nemusí překonávat odpor ventilové pružiny, ale současně by mělo příléhat k vačce, resp. kopírovat její profil.

A právě zde vězí zakopaný pes u motorů GDI: hydroštely samotné mohou být naprosto OK, ale v jejich "dírách" už jsou vůle, jelikož ocelové hydroštely za určitých podmínek vydírají vnitřní povrch hliníkových děr. Pak je můžete měnit stále dokola a kýžený efekt to nepřináší.

_________________
Když auto, tak japonské! Když japonské, tak Mitsubishi! A to navzdory všem potížím MMC...


Nahoru
 Profil Poslat soukromou zprávu  
Odpovědět s citací  
 Předmět příspěvku:
PříspěvekNapsal: 07 červenec 2007 20:39 
Offline

Registrován: 16 červenec 2006 21:32
Příspěvky: 68
Bydliště: Letňany
Automobil: GALANT WAGON
Typ motoru: 6A13
Rok výroby: 1997
Takže by byl jeden zlepšovák - ventily mají vodítka- litina- co takhle udělat vodítka pro hydroštely ? :roll: :shock: :mrgreen:

_________________
Mitsubishi Galant Wagon 2,5l V6/24V 120 kW LPG SGI


Nahoru
 Profil Poslat soukromou zprávu  
Odpovědět s citací  
 Předmět příspěvku:
PříspěvekNapsal: 07 červenec 2007 20:44 
Offline

Registrován: 16 listopad 2004 21:23
Příspěvky: 2921
Bydliště: Praha
Ono by bylo nejlepší zapouzdřit to do bronzu.

_________________
Když auto, tak japonské! Když japonské, tak Mitsubishi! A to navzdory všem potížím MMC...


Nahoru
 Profil Poslat soukromou zprávu  
Odpovědět s citací  
 Předmět příspěvku:
PříspěvekNapsal: 07 červenec 2007 21:00 
Offline

Registrován: 16 červenec 2006 21:32
Příspěvky: 68
Bydliště: Letňany
Automobil: GALANT WAGON
Typ motoru: 6A13
Rok výroby: 1997
Mitsi píše:
Ono by bylo nejlepší zapouzdřit to do bronzu.

Bronz je výborná věc na pouzdra - ložiska - ale je měkký. Litina nasákne olej a nedilatuje jako bronz. Jedná se o motory s vodítkama uloženýma v hlavě . Když projedeš motory 4G63- 6A12-6A13- SOHC tam jsou uloženy ve vahadlách . Tam není co pouzdřit , leda měnit . :cry:

_________________
Mitsubishi Galant Wagon 2,5l V6/24V 120 kW LPG SGI


Nahoru
 Profil Poslat soukromou zprávu  
Odpovědět s citací  
 Předmět příspěvku:
PříspěvekNapsal: 08 červenec 2007 00:45 
Offline

Registrován: 16 listopad 2004 21:23
Příspěvky: 2921
Bydliště: Praha
Problémy s hydroštely jsou hlavně u 1,8 GDI motorů. A tam jsou zapuštěny v hlavě, nikoli ve vahadlech. Navíc ta vahadla nejsou - na rozdil od hlavy - čistě hliníková. A k tomu by nebylo třeba řešit problém vyšších setrvačných hmot!

_________________
Když auto, tak japonské! Když japonské, tak Mitsubishi! A to navzdory všem potížím MMC...


Nahoru
 Profil Poslat soukromou zprávu  
Odpovědět s citací  
 Předmět příspěvku:
PříspěvekNapsal: 08 červenec 2007 12:58 
Offline

Registrován: 16 červenec 2006 21:32
Příspěvky: 68
Bydliště: Letňany
Automobil: GALANT WAGON
Typ motoru: 6A13
Rok výroby: 1997
Mitsi píše:
Problémy s hydroštely jsou hlavně u 1,8 GDI motorů. A tam jsou zapuštěny v hlavě, nikoli ve vahadlech. Navíc ta vahadla nejsou - na rozdil od hlavy - čistě hliníková. A k tomu by nebylo třeba řešit problém vyšších setrvačných hmot!

Je to problem materiálů -. Bronz se ve věčší míře používá jako povlak na ocelových částech ložisek. Proto jsem navrhoval vyzkoušenou technologii vodítek ventilů . Čistě bronzové vložky jsou co do tvrosti a oděru na úrovni hliníkových slitin . :roll:

_________________
Mitsubishi Galant Wagon 2,5l V6/24V 120 kW LPG SGI


Nahoru
 Profil Poslat soukromou zprávu  
Odpovědět s citací  
 Předmět příspěvku:
PříspěvekNapsal: 08 červenec 2007 19:08 
Offline

Registrován: 16 listopad 2004 21:23
Příspěvky: 2921
Bydliště: Praha
To jsem netusil. Mne slo primarne o "zpracovatelnost" - bronzova pouzdra jsou asi jednodussi z hlediska vyroby a aplikace, nebo ne...?

_________________
Když auto, tak japonské! Když japonské, tak Mitsubishi! A to navzdory všem potížím MMC...


Nahoru
 Profil Poslat soukromou zprávu  
Odpovědět s citací  
 Předmět příspěvku:
PříspěvekNapsal: 10 červenec 2007 21:21 
Offline

Registrován: 16 červenec 2006 21:32
Příspěvky: 68
Bydliště: Letňany
Automobil: GALANT WAGON
Typ motoru: 6A13
Rok výroby: 1997
Mitsi píše:
To jsem netusil. Mne slo primarne o "zpracovatelnost" - bronzova pouzdra jsou asi jednodussi z hlediska vyroby a aplikace, nebo ne...?


Máš pravdu, jednodušší zpracovatelnost pokud nejde o vylévané pouzdra
.Viz ojniční pánve půlené , tam je jen potah ostatní zajišťuje olej. Ostatní bronzová ložiska, jako půlená trubka , usazená v kuželovém pouzdře kterým se vymezuje jeho vůle vůči hřídeli, jsou zpracovatelné výborně.
Zdvihátka uložená v hlavě motru jsou součástkou plovoucí v oleji. Bude-li
toto uložení v bronz. pouzdru extremně namáháno na oděr a teplotu, může toto spojení dospět tam, kde jsme začali tento dialog . Ale dost
teorie, levněji vyjde výměna zdvihátek a oleje. Držím palce.
Teď řeším problém rozvodů, výmeny spojkového ložiska a zarezlý šroub
v silenbloku spodního předního ramene . :cry:

_________________
Mitsubishi Galant Wagon 2,5l V6/24V 120 kW LPG SGI


Nahoru
 Profil Poslat soukromou zprávu  
Odpovědět s citací  
Zobrazit příspěvky za předchozí:  Seřadit podle  
Odeslat nové téma Odpovědět na téma  [ Příspěvků: 13 ] 

Všechny časy jsou v UTC + 1 hodina [ Letní čas ]


Kdo je online

Uživatelé procházející toto fórum: Žádní registrovaní uživatelé a 1 návštěvník


Nemůžete zakládat nová témata v tomto fóru
Nemůžete odpovídat v tomto fóru
Nemůžete upravovat své příspěvky v tomto fóru
Nemůžete mazat své příspěvky v tomto fóru
Nemůžete přikládat soubory v tomto fóru

Přejít na:  
cron
Založeno na phpBB® Forum Software © phpBB Group
Český překlad – phpBB.cz